PRODUCT
一、用途
ZJB型立式高效節能自吸泵是液下泵、長軸泵、潛污泵、普通自吸泵、消防泵及氣動隔膜泵的理想替代產品,具有較強的適應性。廣泛適用于鋼鐵、化工、石油、電力、冶金、環保、建筑、污水處理、制藥、自來水等領域。其不同的葉輪模式和材質,可輸送各種濃度的酸、堿、鹽、清水及污水等介質,還可根據用戶不同的需求采用相應的材質設計制造。
二、特點
1、高效節能,進出水口無彎道設計,克服水流過程中的彎道損失。葉輪、蝸殼采用特殊的水力模型設計,先進的生產工藝,與普通自吸泵相比,其工作效率可提高20%-30%,能耗比普通自吸泵節能20%-30%。
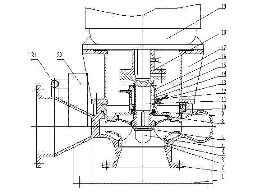
2、水泵采用自吸泵專用電機,配置品牌軸承,精度高、可靠性好、壽命長、運轉平穩、無噪音、自吸速度快。
3、整機使用壽命長,葉輪、蝸殼、泵軸采用特種合金材料生產制作,為確保葉輪與蝸殼的配合,水泵性能達到很好狀態,該泵在葉輪與蝸殼配合處裝有可更換式特制合金口環,更能延長水泵的使用壽命,泵軸設有軸套,軸與介質不接觸,可確保軸不會被腐蝕,整機運行壽命是液下泵、潛污泵的8-10倍。
4、水泵機封通過油冷卻,不接觸介質,另配有付葉輪動力密封,因此水泵在所抽含雜質較多,工況較惡劣的情況下(如氧化鐵屑等易磨損雜質時)大大提高了機封的使用壽命。
5、在安裝完畢后,第一次注滿水啟動后,以后無須再加水。
6、水泵為立式結構,安裝方便,底腳穩固,結構緊湊,基建投資小,運行維護費用低。電機軸承都配有加油孔和放油孔,對軸承的維護十分方便。
7、水泵軸向長度短,檢修方便,無需較高檢修空間和大型起吊設備。
8、該水泵可根據用戶需要,可設計成軸向吸入和沿徑向任意方向吸入,滿足不同工況要求。
三、選型方法
1、性能參數表中的材質代號欄中T.G.BXG字母分別代表水泵材質鐵、鋼(耐磨鋼、合金鋼)及不銹鋼。
如有特殊工況條件,水泵制造采用相應材質,詳細請與我公司聯系。
2、型號意義
ZJB300-D1
ZJB代表立式高效節能自吸泵
300代表水泵進水口直徑(mm)
D1代表性能參數代號
3、本公司生產的水泵進出口法蘭依照GB/T9119.2標準,法蘭公稱等級PN1.0。本公司水泵出廠時,整機包括主機,配備進出口反法蘭、濾網,以便于用戶安裝。
4、水泵的配套電機電壓為380V、3KV、6KV、10KV(50HZ),訂貨時由用戶選擇。
5、選型須知:用戶在選用該水泵時,要將使用環境中介質的化學性質,以及密度、粘度、溫度、海拔高度、自吸深度告知我公司,注明流量、揚程的同時并注明電壓等級。
特別說明:本參數表中所列參數為清水介質中水泵性能參數,揚程為總揚程(包括吸深高度及出口揚程)。如有特殊要求,我公司將竭誠為您設計制造。
四、產品實拍及使用現場











上一篇:WFB型無密封自控自吸泵
下一篇:沒有了!
為您提供耐腐耐磨砂漿泵,工程塑料泵,蒸發循環泵等方面的專屬解決方案